Патроны стрелкового оружия Красной Армии.
Автор: Алексей ДягилевНашёл справочник по патронам для Красной Армии 1946 года издания. Может кому пригодится. Во всяком случае есть брутто вес ящика с патронами.
Общие сведения
1. Вся маркировка на патронных ящиках нанесена чёрной краской, за исключением ящиков с трассирующими пулями *, на которых маркировка ЗЕЛЁНОГО цвета, и с пристрелочно-зажигательными пулями, на которых маркировка КРАСНОГО цвета.
ЦВЕТ отличительных полос показан на рисунках.
* Патроны с трассирующими пулями, изготовления начиная с 1942 г., на укупорочном ящике имеют трафарет черного цвета с зелёной отличительной полосой на боковых стенках.
2. 7,62-мм патроны с гильзой ШКАС могут быть с лёгкой, бронебойной, бронебойно-зажигательной, пристрелочно-зажигательной и трассирующей пулями.
Гильза ШКАС в отличие от обыкновенной винтовочной гильзы имеет на шляпке, кроме номера завода и года изготовления, дополнительное клеймо -- букву "Ш".
Во избежание тугой экстракции патроны с гильзой ШКАС (кроме патронов с красным капсюлем) покрываются на заводах лаком. Однако лаковое покрытие при носке в патронташах, протирке и т.п. может стираться. Поэтому патроны с гильзой ШКАС целесообразнее применять для стрельбы из пулемётов. Для стрельбы из винтовок необходимо их СЛЕГКА СМАЗЫВАТЬ ружейной смазкой.
3. Патроны с гильзой ШКАС, имеющие красную окраску капсюля или обозначение пропеллера на укупорочном ящике, применять для стрельбы из винтовок и карабинов запрещается, так как при стрельбе, кроме тугой экстракции, они будут давать осечки вследствие иной посадки капсюля по сравнению с винтовочными патронами.
4. Все патроны с пулями бронебойно-зажигательной, пристрелочно-зажигательной и трассирующей при стрельбе из станковых и ручных пулемётов должны снаряжаться в ленты или в магазины следующим образом: через каждые пять патронов с лёгкой или тяжёлой пулями должно быть по одному из указанных специальных патронов.
5. Во избежание поперечных отрывов гильз и тугой экстракции при стрельбе 14,5-мм патронами из противотанковых ружей ПТРС и ПТРД перед стрельбой патроны необходимо слегка смазать ружейной смазкой. Это необходимо потому, что нанесенный на патроны лак с течением времени впитывается в упаковочную бумагу. Кроме того, патроны, герметически укупоренные в специальные коробки, лаком не покрываются.
6. Оберегать патроны от влаги, снега, пыли и грязи. Увлажнённые патроны и своевременно непротёртые могут через несколько дней настолько поржаветь, что окажутся непригодными для стрельбы.
7. Не допускать падения патронов в воду и масло, так как жидкость будет проникать внутрь гильзы, отчего будут получаться затяжные выстрелы, застревание пуль в канале ствола и осечки.
8. Магазин перед набивкой патронами необходимо очистить от заводской смазки.
9. При появлении на патронах ржавчины протереть их сухой тряпкой.
10. Вскрывать ящики и коробки с патронами только по мере надобности.
11. Патроны всех номенклатур как в заводской укупорке, так и россыпью (в ящике без коробок) необходимо хранить в крытых помещениях.
При хранении на открытом воздухе патроны должны быть укрыты от солнца, дождя, пыли и снега. Ящики должны укладываться не на землю, а на деревянные (или другого материала) подкладки (обязательно крышками вверх).
12. Патроны, изготовленные в период Отечественной войны 1941--1945 гг. и укупоренные в бумажную водонепроницаемую укупорку, подлежат переукупорке в герметические оцинкованные коробки. Для этой цели эти патроны должны отправляться по указанию начальника артиллерийского снабжения округа (фронта) на заводы НКВ.
13. На ящиках переукупоренных патронов ставится дополнительный трафарет черной краской:
а) на боковой продольной стенке ящика знак переукупорки -- буква "П", заключенная в ромб;
б) на крышке ящика и крышке оцинкованной коробки--переукупорка завода N ..., месяц и год переукупорки.
14. Пустые ящики и оцинкованные коробки отправлять по указанию начальника артиллерийского снабжения фронта (округа) для повторного их использования.
15. В случае обнаружения плохого качества патронов или укупорки необходимо направлять донесение в УЗПСВ ГАУ Красной Армии.
В донесении сообщить:
-- данные о маркировке (трафарет на боковой стенке ящика и крышке коробки);
-- подробное описание обнаруженного дефекта;
-- при каком количестве осмотренных или расстрелянных патронов эти дефекты выявлены.
16. Трафарет содержит в себе:
-- калибр патрона, образец пули и металл гильзы;
-- количество патронов в ящике;
-- номер партии и номер завода-изготовителя;
-- месяц и год изготовления;
-- марку пороха.
![]() | Например, для 7,62-мм патрона с лёгкой пулей трафарет будет такой: |
17. На крышке ящика для всех номенклатур патронов, указанных в данном кратком справочнике, ставятся знаки опасности и разряда груза, а также вес ящика (рис. 1).
Например, разряд XIV показывает, что груз недетонирующий. чувствителен к огню и мало чувствителен к механическим воздействиям.

| Рис. 1. Знаки на крышке ящика (примерное расположение) |
7,62-мм патроны с лёгкой пулей
Предназначаются для поражения живой силы противника (убойная сила до 2 500 м). Применяются главным образом для стрельбы из винтовок, карабинов и ручных пулемётов.
Можно применять и для стрельбы из станковых пулемётов.
Сокращённые наименования:
В биметаллической гильзе -- 7,62 Л ГЖ.
В латунной гильзе -- 7,62 Л ГЛ.
В стальной (без покрытия) гильзе -- 7,62 Л ГС.
Примечание. "Л" означает -- лёгкая пуля.
На ящике (рис. 2) с патронами без обойм трафарет отличается только количеством уложенных патронов и отсутствием слова "в обоймах".
![]() |
| Рис. 2. Отличительные знаки 7,62-мм патрона с лёгкой пулей и укупорки |
7,62-мм патроны с тяжёлой пулей
Предназначаются для поражения живой силы противника (убойная сила до 3 500 м). Применяются главным образом для стрельбы из станковых пулемётов (рис. 3).
Однако стрелять можно с успехом и из винтовок, карабинов и ручных пулемётов.
Сокращённые наименования:
В биметаллической гильзе -- 7,62 Д ГЖ.
В латунной гильзе -- 7,62 Д ГЛ.
В стальной (без покрытия) гильзе -- 7,62 Д ГС.
Примечание. "Д" означает -- дальнобойная.
![]() |
| Рис. 3. Отличительные знаки и цвета окраски 7,62-мм патрона с тяжёлой пулей и укупорки |
7,62-мм патроны с бронебойной пулей обр. 1930 (Б-30)
Предназначаются для поражения легко бронированных целей (бронемашин, танкеток и т. д.). Применяются для стрельбы из винтовок, карабинов, ручных и станковых пулемётов (рис. 4).
Сокращённое наименование: в латунной гильзе -- 7,62 Б-30 ГЛ.
![]() |
Рис. 4. Отличительные знаки и цвета окраски 7,62-мм патрона с |
7,62-мм патроны с бронебойно-зажигательной пулей обр. 1932 г. (Б-32)
Предназначаются для поражения легко бронированных целей (бронемашин, танкеток и огневых точек) и зажигания лёгкого горючего (бензина) за броней (рис. 5).
Применяются для стрельбы из винтовок, карабинов, ручных и станковых пулемётов.
Сокращённые наименования:
В латунной гильзе -- 7,62 Б-32 ГЛ.
В биметаллической гильзе -- 7,62 Б-32 ГЖ.
![]() |
| Рис. 5. Отличительные знаки и цвета окраски 7,62-мм патрона с бронебойной-зажигательной пулей обр. 1932 г. (Б-32) и укупорки |
7,62-мм патроны с пристрелочно-зажигательной пулей (ПЗ)
Предназначаются для стрельбы по легко воспламеняющимся целям (бензин, керосин, сухая трава и деревянные постройки лёгкого типа) и для корректирования стрельбы по подвижным и неподвижным целям при стрельбе боевыми патронами всех других номенклатур патронов, выбранных в зависимости от характера цели (рис. 6).
При встрече с преградой происходит разрыв пули и наблюдается вспышка, видимая на дальности до 1 000 м.
Патроны могут применяться для стрельбы как из винтовок и карабинов, так и из ручных и станковых пулемётов.
Сокращённые наименования:
В биметаллической гильзе -- 7,62 ПЗ ГЖ.
В латунной гильзе -- 7,62 ПЗ ГЛ.
![]() |
| Рис. 6. Отличительные знаки и цвета окраски 7,62-мм патрона с пристрелочно-зажигательной пулей (ПЗ) и укупорки |
7,62-мм патроны с трассирующей пулей (Т-46)
Предназначаются для пристрелки и корректирования огня, а также для поражения живой силы противника.
Применяются для стрельбы из винтовок, карабинов, ручных и станковых пулемётов.
Сокращённые наименования:
В латунной гильзе -- 7,62 Т-46 ГЛ.
В биметаллической гильзе -- 7,62 Т-46 ГЖ (рис, 7).
![]() |
| Рис. 7. Отличительные знаки и цвета окраски 7,62-мм патрона с трассирующей пулей (Т-46) и укупорки |
7,62-мм пистолетные патроны с обыкновенной пулей
Предназначаются для поражения живой силы противника на дальностях: из пистолета обр. 1933 г.--до 50 м, из автомата (пистолета-пулемёта) -- до 300 м. Убойная сила пули до 500 м.
Сокращённые наименования: В латунной гильзе -- 7,62 П ГЛ (рис. 8). В стальной (без покрытия) гильзе -- 7,62 П ГС. В биметаллической гильзе -- 7,62 II ГЖ.
![]() |
| Рис. 8. Отличительные знаки 7,62-мм пистолетного патрона с обыкновенной пулей и укупорки |
7,62-мм пистолетные патроны с бронебойно-зажигательной пулей обр. 1941 г.
Предназначаются для стрельбы по мотоциклам, автомашинам и бензиновым бачкам.
Сокращённое наименование: 7,62 П-41 ГЛ (рис. 9).
![]() |
| Рис. 9. Отличительные знаки и цвета окраски 7,62-мм пистолетного патрона с бронебойно-зажигательной пулей обр. 1941 г. и укупорки |
7,62-мм пистолетные патроны с трассирующей пулей
Предназначаются для стрельбы из принятых на вооружение Красной Армии образцов автоматов (пистолетов-пулемётов) для целеуказании, сигнализации и пристрелки, а также для стрельбы по живым целям. Эти патроны могут быть использованы также для стрельбы из 7,62-мм пистолета обр. 1933 г. (ТТ). Пуля даёт красную трассу.
Сокращённое наименование: 7,62 ПТ ГЛ (рис. 10).
![]() |
| Рис. 10. Отличительные знаки и цвета окраски 7,62-мм пистолетного патрона с трассирующей пулей и укупорки |
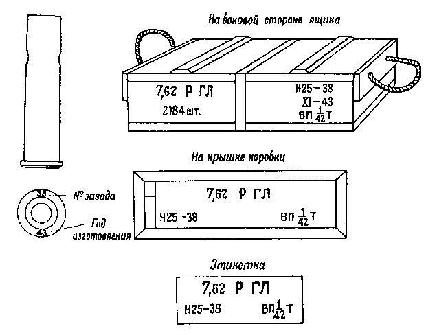
7,62-мм револьверные патроны
Предназначаются для поражения противника на близких дальностях (до 50 м) из револьвера "Наган".
Сокращённое наименование: 7,62 Р ГЛ (рис. 11).
![]() |
| Рис. 11. Отличительные знаки 7,62-мм револьверного патрона и укупорки |
12,7-мм патроны с бронебойной пулей обр. 1930 г. (Б-30)
Предназначаются для поражения легко бронированных целей (танкеток, бронемашин и огневых точек).
Применяются для стрельбы из пулемёта ДШК.
Сокращённое наименование: в латунной гильзе -- 12;7 Б-30 ГЛ (рис. 12).
![]() |
| Рис. 12. Отличительные знаки и цвета окраски 12,7-мм патрона с бронебойной пулей обр. 1930 г. (Б-30) и укупорки |
12,7-мм патроны с бронебойно-зажигательной пулей обр. 1932г. (Б-32)
Предназначаются, как и патроны с пулей Б-30, для поражения легко бронированных целей и зажигания лёгкого горючего (бензина) за броней (рис. 13).
Применяются для стрельбы из пулемёта ДШК.
Сокращённое наименование: 12,7 Б-32 ГЛ.
![]() |
| Рис. 13. Отличительные знаки и цвета окраски 12,7 мм патрона с бронебойно-зажигательной пулей обр. 1932 г. (Б-32) и укупорки |
12,7-мм патроны с бронебойно-зажигательно-трассирующей пулей (БЗТ)
Предназначаются для пристрелки и корректирования огня и поражения бронированных целей, а также зажигания бензина, расположенного за броней. Цвет трассы либо белый, либо красный (рис. 14).
Применяются для стрельбы из пулемёта ДШК вперемежку с патронами с пулей Б-30 или Б-32.
Зажигаемость бензина такая же, как у пули Б-32.
Сокращённое наименование: 12,7 БЗТ ГЛ.
![]() |
| Рис. 14. Отличительные знаки и цвета окраски 12,7-мм патрона с бронебой-но-зажигательно-трассирующей пулей (БЗТ) и укупорки |
14,5-ми патроны с бронебойно-зажигательной пулей обр. 1932 г. (Б-32)
Патроны предназначаются для поражения лёгких и средних танков на дальностях до 500 м и зажигания лёгкого горючего (бензина) за броней (рис. 15).
Применяются для стрельбы из 14,5-мм противотанковых ружей системы Симонова и Дегтярева.
Сокращённое наименование: 14,5 Б-32 ГЛ.
![]() |
| Рис. 15. Отличительные знаки и цвета окраски 14,5-мм патрона с бронебойно-зажигательной пулей обр. 1932 г. и укупорки На крышке ящика и крышке коробки делается дополнительно надпись: "Перед стрельбой легко смазать ружейной смазкой" |
14,5-мм патроны с бронебойно-зажигательной пулей обр. 1941 г. (БС-41)
Патроны предназначаются для поражения лёгких и средних танков на дальностях до 500 м. тяжёлых танков (кроме лобовой брони) на дальностях до 150 м и зажигания лёгкого горючего (бензина) за броней (рис. 16).
Применяются для стрельбы из 14,5-мм противотанковых ружей системы Симонова и Дегтярева.
Сокращённое наименование: 14,5 БС-41 ГЛ.
![]() |
| Рис. 16. Отличительные знаки и цвета окраски 14,5-мм патрона с бронебойно-зажигательной пулей обр. 1941 г. и укупорки На крышке ящика и крышке коробки делается дополнительно надпись: "Перед стрельбой легко смазать ружейной смазкой" |
Приложение 1
Таблица
весовых, линейных и балистических данных 7,62-мм винтовочных патронов
Наименование патронов Данные | Размер ность | С легкой пулей | С тяжелой пулей обр. 1930 | С бронебой ной пулей обр. 1930 (Б-30) | С броне бойно-зажига тельной пулей обр. 1932 (Б-32) | С пристре лочно-зажига тельной пулей ПЗ | С трасси рующей пулей |
| Вес патрона (ГЖ) | г | 20,95-23,20 | 22,95-25,20 | 21,45-23,70 | 21,00-23,25 | 21,00-23,25 | 22,00-24,00 |
| Длина патрона | мм | Для всех патронов одинакова и равна 75,91--77,16 | |||||
| Вес пули | г | 9,5-9,7 | 11,7-11,9 | 10,8-11,05 | 9,65-10,25 | 9,7-10,3 | 9,3-9,8 |
| Длина пули | мм | 28,20-28,60 | 33,0-33,4 | 36,1-36,5 | 36,25-37,15 | 38,25-39,0 | 37,4-38,1 |
| Начальная скорость пули | м/сек | 860-875 | 795-810 | 815-830 | 860-875 | 820-835 | 820-835 |
| Давление: среднее | кг/см2 | 3050 | 3050 | 3050 | 3100 | 3100 | 3100 |
| наибольшее | кг/см2 | 3450 | 3450 | 3450 | 3500 | 3450 | 3450 |
Приложение 2
Таблица
весовых, линейных и балистических данных 7,62-мм револьверных и пистолетных патронов
Наименование патронов Данные | Размер ность | Револьверные "Наган" с обыкновенной пулей | Пистолетные с обыкновенной пулей | Пистолетные с бронебойно-зажигательной пулей обр. 41г. | Пистолетные с трассирующей пулей |
| Вес патрона | г | 11,60-12,80 | 10,2-11,1 | 9,0-10,67 | 9,95-11,06 |
| Длина патрона | мм | 38,48-38,73 | 34,45-34,85 | 34,45-34,85 | 34,45-34,85 |
| Вес пули | г | 6,70-7,00 | 5,45-5,60 | 4,25-5,16 | 5,2-5,55 |
| Длина пули | мм | 16,26-16,51 | 13,8-14,0 | 16,2-16,5 | 16,35-16,85 |
| Начальная скорость пули | м/сек | 270-290 | 425-455 | 460-490 | 425-455 |
| Давление: среднее | кг/см2 | 1100 | 1850-2100 | 1850-2050 | 1850-2100 |
| наибольшее | кг/см2 | 1300 | 2250 | 2250 | 2250 |
Приложение 3
Таблица
весовых линейных и балистичесиих данных 12,7-мм и 14,5-мм патронов
Наименование патронов Данные | Размер ность | 12,7-мм с бронебойно-зажигательной пулей обр. 1932г. (Б-32) | 12,7-мм с бронебойно-зажигательно-трассирующей (БЗТ) | 14,5-мм с бронебойно-зажигательной пулей обр. 1932г. (Б-32) | 14,5-мм с бронебойно-зажигательной пулей обр. 1941г. (БС-41) |
| Вес патрона | г | 125-137 | 123-135 | 195-205 | 195,0-205,0 |
| Длина патрона | мм | 145,5-147,0 | 145,5-147,0 | 154,5-156,0 | 154,5-156,0 |
| Вес пули | г | 47,2-49,5 | 44,3-45,6 | 62,6-64,65 | 62,5-64,5 |
| Длина пули | мм | 63,0-64,0 | 63,6-64,6 | 65,5-66,7 | 49-51 |
| Давление: среднее | кг/см2 | 3160 | 3150 | 3330 | 3330 |
| наибольшее | кг/см2 | 3460 | 3450 | 3500 | 3500 |
Примечание. Данные 12,7-мм патрона с пулей Б-30 примерно одинаковы с данными патрона с пулей Б-32.
От автора. Есть неувязка а может косяк составителя или типографии. На рисунке 15. с патронами 14,5-мм указан калибр 12,7-мм. И в таблице патрон 14,5-мм с бронебойно-зажигательной пулей обр. 1932г. (Б-32) почему-то не тот год принятия на вооружение, - а может и тот?
14,5-мм патрон с бронебойно-зажигательной пулей Б-32 со стальным каленым сердечником и латунной гильзой разработан в 1938г. на Полигоне стрелкового вооружения. Пуля Б-32 состоит из стальной, плакированной томпаком оболочки, свинцовой рубашки, бронебойного сердечника (инструментальная сталь У12А, У12ХА) и 1,25-1,45г зажигательного состава (№7 или №45). В 1939-1940гг. патрон доработали (изменена толщина стенок гильзы и форма головной части сердечника). Принят на вооружение в 1941г. Принцип действия пули аналогичен винтовочной Б-32.
Отличительная маркировка: вершинка пули окрашена в черный цвет с красным пояском.
Предназначен для поражения наземных легкобронированных целей (бронетранспортеров, бронемашин, противотанковых пушек и т.п.), огневых средств и живой силы, находящихся за легкими укрытиями, на дальностях до 1000м, транспортных средств и групповых целей - до 2000м, а также воздушных целей - на высотах до 1500м и на дальностях до 2000м. Пуля пробивает броню толщиной 20мм, расположенную под углом 20 градусов к линии цели, на дальности 300м, и обеспечивает зажигание горючей жидкости (бензина), находящейся за броней толщиной 20мм, на дальности 100м или в баках на дальности до 1500м.















