Зачем в гильзе флегматизатор? Зачем в гильзе лежит моток проволоки?
Автор: любой господиСегодня речь пойдет о назначении флегматизатора в гильзе артиллерийского снаряда. Итак, начинаем разбираться.
Флегматизатор представляет собой сплав углеводородов, нанесенных на тонкую бумагу, комплектуемую в виде листов. Как правило, состоит это дело из сплава парафина с церезином или камфоры.

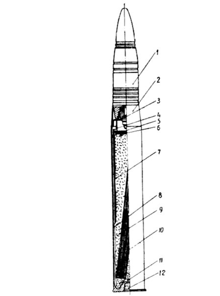
Флегматизатору на чертеже досталась цифра семь.
Возникает резонный вопрос: "Зачем это засовывать в гильзу снаряда?". Дело в том, что флегматизатор уменьшает разгар канала ствола от действия пороховых газов и повышает его живучесть (практически установлено повышение живучести канала ствола в 2-5 раз). В ряде случаев флегматизатор служит также и для гашения обратного пламени.
И следующий вопрос: "Как оно работает?". Защитное действие такого устройства обусловлено снижением температуры пороховых газов при воспламенении пороха и начальный период выстрела. Стоить отметить причину снижения температуры: теплота идет на расплавление и разрыв связей между атомами углерода в флегматизаторе.
В зарядах нашей армии распространены три типа флегматизатора: листовой, рифленый и пластинчатый.

Флегматизаторы: 1—листовой; 2—рифленый; 3— пластинчатый.
Зачем в гильзе лежит моток проволоки?
Дело в том, что медь от стирающегося ведущего пояска остается на нарезах ствола и портит его. Давайте разберемся как борются с этим конструкторы боеприпасов.

Показывать особо нечего, но вот так выглядит моток свинцовой проволоки. Невероятный контент.
А борются с этим очень просто: в пороховой заряд кладется самый обычный моток свинцовой проволоки диаметром два-три миллиметра, которая уложена сверху на пороховую навеску. Название этой проволоки говорящее — размеднитель. Его оптимальная масса около 1 % от массы метательного заряда. При выстреле свинец (иногда также используется олово) превращаются в мелкодиспергированное и парообразное состояние и, попадая на омедненную поверхность канала ствола, образуют с медью легкоплавкий сплав. Этот сплав выносится потоком пороховых газов, а также удаляется очередным снарядом при его движении по каналу.

Положение размеднителя показано циферкой семь.
Не лишним будет отметить, что в современных боеприпасах с металлокерамическими поясками размеднитель не применяется.